氣動閘閥

氣動閘閥
一、 主要性能參數
公稱壓力 :1.6, 2.5,4 .0,6.4MPa
使用溫度: -29 ~ 425 ℃(碳鋼) -40 ~+ 550 ℃ (不銹鋼)
公稱通徑: DN50 ~ 800mm
閥體材質 :304. 306.316L .WCB.HT200
連接法蘭: JB/T79 . GB913 . HG20592
適用介質:空氣、水、蒸汽、油及硝酸、醋酸等腐蝕性流體
作用方式:切斷型,調節型 , 手動控制
電源電壓: 220VAC 、 24VAC
輸入信號 :4 ~ 20mA/1 ~ 5VDC
0 ~ 20mA/0 ~ 10VDC
二、 用途及使用范圍
Z6S41 系列氣動帶手動 楔 式閘閥是具有氣動執行機構(雙層氣缸,并帶有緩沖機構)和手動及其保護機構(手動和 可 自鎖的氣動 - 手動轉換裝置)的低 支架明桿閘閥 。 該閥由于 采用雙層氣缸結構,其與單氣缸式氣動閘閥相比,提升力增大了一倍。這就從根本上解決了單氣缸氣動閘閥的某些閥體內 楔 死而打不開的弊病。而且,由于 該閥具備 緩沖機構,能有效地減速輕了關閉閥門時,由于活塞下行沖擊而造成的閥板車密封面和閥體密封面的磨損,同時,也能避免閘板卡死的現象。
為了配合用戶實現操作自動化,本公司除供應本系列產品之外,還可單獨提供包括支架在內的氣缸體,幫助用戶對已有的種類繁多的手動閘閥進行改造,將雙缸氣動執行機構部分安裝在手動閘閥的閥體大蓋上,即可構成雙缸式氣動 - 手動兩用閘閥。
由于其技術先進,性能可靠,操作切換和維修方便,已被石油、化工、冶金、電力、海運等部門作為輸送氣體、液體介質的管道開閉裝置而廣泛使用。
三、 結構原理
本系列產品以0.4~0.6MPa(表壓)凈化壓縮空氣作工作壓力,推動活塞,帶動閘板作垂直于流體的位移,實現開啟開關閉閥門的目的。
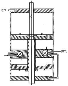
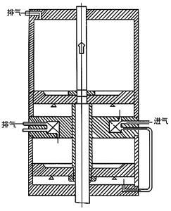
巧妙設計的雙層氣缸和緩沖機構
雙層氣缸和緩沖機構的工作原理,按閘板工作的四個階段分述如下:
(附插原理圖①、②、③、④)
1 、閘閥開啟前階段:上層氣缸的活塞(以下簡稱上活塞)和下層氣缸的活塞(以下簡稱下活塞)同時受力,閥桿在上、下活塞的推動下,以單活塞近二倍的提升力,克服閘板密封面和閥體密封面之間的靜磨擦力 ,帶動閘板上升。 壓縮空氣由上氣缸的下氣室,經由設置在隔板的特定通道,通過連通管,到達下氣缸的下氣室,推動上下活塞同時工作。下氣缸上氣室中的氣體,經過設置在隔板內的另一特定通道。暢通無阻的排出氣缸體外。
2 、閘閥開啟的后階段:在閘板稍稍開啟以后,下活塞就運行到了上死點,閘板在上活塞的帶動下,繼續提升,直至到了全開位置。
3 、閘閥關閉的前階段:在上活塞的推動下,閘板離開全開位置,開始下降。
4 、閘板關閉的后階段:當上活塞碰到下活塞 凸 臺,并帶動下活塞一起繼續下降時,由于下氣缸上氣室的進氣通道和下氣缸下氣室的排氣通道設有阻礙,明顯地減慢了下行的速度,進至閘板下降到了全關位置。減緩閘板下行的沖擊,自行可關嚴閥門,又不使閥板 楔 得過緊,同時,還保護了密封面,免受猛烈沖擊而損壞。
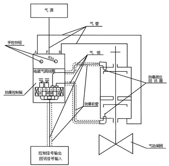
靈活可靠的氣動 - 手動轉換機構 , 裝氣缸蓋上部的氣動 - 手動轉換機構,在閘閥開啟的關閉過程的任何位置上,都可十分方便的轉動操作手柄,直接地進行由氣動至手動或由手動至氣動的操作方式的轉換,轉換操作手柄采用定位銷式自鎖設計,手柄定位后,可靠鎮定。由電磁閥及其控制電路 或供風系統發生 故障時,不需其他輔助工具,即可迅速轉換成手動操作狀態,保證線路正常運行,避免事故發生。在新建工程的自控制系統未完成之前,本系列閘閥可以可靠地作為手動閘閥使用,動作時靈活輕快。
關閥時間可調通過調整,安裝在隔板上的緩沖機構,還可以在一定范圍內調整閘板關閉的時間。
可配用回訊器
工作狀況( 1 ) -- 開閥初始階段工作力 =2P 工作狀況 ( 2 ) -- 開閥初始階段工作力 =2P
工作狀況( 4 ) -- 關閥終了階段工作力 =P 工作狀況( 3 ) -- 關閥初始階段工作力 =P
雙缸式氣動帶手動 楔 式閘閥系統控制原理圖
本閥可以 配用電的或氣的 回訊器 ,用以發送閥門開關狀態信息。因此,使用 本閥可以 實現遠距離控制,集中控制和自動控制。
△耐腐防蝕的氣缸 本閥的 氣缸選用于無縫鋼管制造,內表面鍍以耐腐性硬鉻,并經拋光處理,具有 磨擦力 小、不易銹蝕、高硬度、壽命長等優點。
△氣缸中的密封圈 采用丁晴橡膠 ○形密封圈,密封性能可靠,維修時更換方便。
四、性能規范
1 、閥體性能
2 、氣缸性能
3 、耗氣量
[ 凈化壓縮空氣壓力:0.4MPa(表)] 閘閥的氣缸單程耗氣量(以壓縮空氣體積計算)
1、本閥主要由閥體、閥蓋、閘板、閥桿、密封圈、雙層氣缸及其活塞、活塞桿、隔板連同緩沖機構、手動機構、氣動-手動轉換裝置和閥蓋填料裝置等部分組成。
2、上活塞行至行程上端可頂上上回訊器,使之發訊;下活塞行之行程下端可頂下下回訊器,使之發訊,以作為閘閥開閉信息在中央操作室的模擬儀表盤上進行顯示。
3、手輪上部的外伸指示桿的上升和下降,標志著該閥的閘板是處于提升狀態還是下降狀態。閘閥關閉時,外伸指示桿位于最低位置;反之,閘閥全開時,外伸指示桿位于最高位置。此即為本閥啟閉狀態的現場指示。
4、氣缸蓋上部裝有氣動-手動轉換裝置。將轉換手柄順時針方向提轉到“氣動定位孔定位,閘閥處于氣動操作狀態;反之,將轉換手柄逆時針方向提轉到“手動”定于孔處定位,閘閥即可進行手動操作。帶錐齒輪的手柄轉換方向相反。手動操作閘閥時,手輪旋向和普通手動閥一樣,即順時針轉為關,逆時針轉為開。帶錐齒輪轉動的相反。
主要零件材質
PN1.6MPa 主要連接尺寸和外形尺寸
PN2.5MPa 主要連接尺寸和外形尺寸
PN4.0MPa 主要連接尺寸和外形尺寸
PN6.4MPa 主要連接尺寸和外形尺寸
六、安裝使用及維修保養注意事項
1 、閥在安裝前應仔細核對型號是否與使用要求符合。
2 、 本閥可 安裝在任何工作位置,但應考慮檢修和操作的方便。
3 、閥在安裝前應對閥體進行密封性試驗; 閥在 安裝前還應進行三次以上的空載啟閉試驗,氣動閘閥的閘板開關應靈活, 各種軸件不得 有卡阻現象。
4 、安裝過程中應清除孔內、密封面及接合面的污垢,檢查連接螺栓是否均勻擰緊。
5 、安裝完畢要進行密封試驗及 氣動和 手動操作試驗。同時檢查 回訊器 在閥門全開或全關狀態下能否正確發訊。
6 、 本閥在 使用中,要求將閘板全開全關,不允許將閘閥打開一部分作為調節流量的節流閥使用。否則,在介質流速的沖刷下使密封面損壞。
7 、閥在使用過程中,應定期( 18 個月)在氣缸內壁加注少量潤滑油。
8 、閥在使用期間,應視其動作頻繁程度進行定期檢查和維護。
9 、氣動 - 手動轉換裝置上的轉換手柄在手動的位置,絕對不允許進行氣動操作。
七、可能發生的故障和消除方法
八、訂貨須知
1 、訂貨時請注明閘閥的型號、公稱壓力、公稱通徑、流通介質、實際工作壓力、使用溫度。如屬改裝閘閥,需訂購包括支架在內的氣缸體時,還需提供閥體大蓋與支架連接部位的尺寸,氣缸與閥體、閘板裝接的相對位置尺寸等有關資料。
2 、訂貨時還請注意訂購 何種回訊器 ,或提供 回訊器 接頭螺紋尺寸。
3 、用戶有特殊要求,或選用特大型氣動閘閥 (DN600 以上 ) 時,本公司可為專業設計制造。
一、 主要性能參數
公稱壓力 :1.6, 2.5,4 .0,6.4MPa
使用溫度: -29 ~ 425 ℃(碳鋼) -40 ~+ 550 ℃ (不銹鋼)
公稱通徑: DN50 ~ 800mm
閥體材質 :304. 306.316L .WCB.HT200
連接法蘭: JB/T79 . GB913 . HG20592
適用介質:空氣、水、蒸汽、油及硝酸、醋酸等腐蝕性流體
作用方式:切斷型,調節型 , 手動控制
電源電壓: 220VAC 、 24VAC
輸入信號 :4 ~ 20mA/1 ~ 5VDC
0 ~ 20mA/0 ~ 10VDC
| 吃 | Z6S41H-25 | Z6S41H-16 | Z6S41T-10 |
| 公稱通徑 DN(mm) | 50 ~ 600 | 40 ~400 | 40 ~400 |
| 適用介質 | 水、 蒸氣 | 水、 蒸氣 | 水、 蒸氣 |
| 、油品 | |||
| 最高介質溫度 ( ℃ ) | 425 | 425 | 200 |
| 氣缸工作壓力 ( 表 ) MPa | 0.4 ~ 0.6 | ||
| 氣缸工作壓力 ( 表 ) MPa | 0.4 ~ 0.6 | ||
二、 用途及使用范圍
Z6S41 系列氣動帶手動 楔 式閘閥是具有氣動執行機構(雙層氣缸,并帶有緩沖機構)和手動及其保護機構(手動和 可 自鎖的氣動 - 手動轉換裝置)的低 支架明桿閘閥 。 該閥由于 采用雙層氣缸結構,其與單氣缸式氣動閘閥相比,提升力增大了一倍。這就從根本上解決了單氣缸氣動閘閥的某些閥體內 楔 死而打不開的弊病。而且,由于 該閥具備 緩沖機構,能有效地減速輕了關閉閥門時,由于活塞下行沖擊而造成的閥板車密封面和閥體密封面的磨損,同時,也能避免閘板卡死的現象。
為了配合用戶實現操作自動化,本公司除供應本系列產品之外,還可單獨提供包括支架在內的氣缸體,幫助用戶對已有的種類繁多的手動閘閥進行改造,將雙缸氣動執行機構部分安裝在手動閘閥的閥體大蓋上,即可構成雙缸式氣動 - 手動兩用閘閥。
由于其技術先進,性能可靠,操作切換和維修方便,已被石油、化工、冶金、電力、海運等部門作為輸送氣體、液體介質的管道開閉裝置而廣泛使用。
三、 結構原理
本系列產品以0.4~0.6MPa(表壓)凈化壓縮空氣作工作壓力,推動活塞,帶動閘板作垂直于流體的位移,實現開啟開關閉閥門的目的。
巧妙設計的雙層氣缸和緩沖機構
雙層氣缸和緩沖機構的工作原理,按閘板工作的四個階段分述如下:
(附插原理圖①、②、③、④)
1 、閘閥開啟前階段:上層氣缸的活塞(以下簡稱上活塞)和下層氣缸的活塞(以下簡稱下活塞)同時受力,閥桿在上、下活塞的推動下,以單活塞近二倍的提升力,克服閘板密封面和閥體密封面之間的靜磨擦力 ,帶動閘板上升。 壓縮空氣由上氣缸的下氣室,經由設置在隔板的特定通道,通過連通管,到達下氣缸的下氣室,推動上下活塞同時工作。下氣缸上氣室中的氣體,經過設置在隔板內的另一特定通道。暢通無阻的排出氣缸體外。
2 、閘閥開啟的后階段:在閘板稍稍開啟以后,下活塞就運行到了上死點,閘板在上活塞的帶動下,繼續提升,直至到了全開位置。
3 、閘閥關閉的前階段:在上活塞的推動下,閘板離開全開位置,開始下降。
4 、閘板關閉的后階段:當上活塞碰到下活塞 凸 臺,并帶動下活塞一起繼續下降時,由于下氣缸上氣室的進氣通道和下氣缸下氣室的排氣通道設有阻礙,明顯地減慢了下行的速度,進至閘板下降到了全關位置。減緩閘板下行的沖擊,自行可關嚴閥門,又不使閥板 楔 得過緊,同時,還保護了密封面,免受猛烈沖擊而損壞。
靈活可靠的氣動 - 手動轉換機構 , 裝氣缸蓋上部的氣動 - 手動轉換機構,在閘閥開啟的關閉過程的任何位置上,都可十分方便的轉動操作手柄,直接地進行由氣動至手動或由手動至氣動的操作方式的轉換,轉換操作手柄采用定位銷式自鎖設計,手柄定位后,可靠鎮定。由電磁閥及其控制電路 或供風系統發生 故障時,不需其他輔助工具,即可迅速轉換成手動操作狀態,保證線路正常運行,避免事故發生。在新建工程的自控制系統未完成之前,本系列閘閥可以可靠地作為手動閘閥使用,動作時靈活輕快。
關閥時間可調通過調整,安裝在隔板上的緩沖機構,還可以在一定范圍內調整閘板關閉的時間。
可配用回訊器
工作狀況( 1 ) -- 開閥初始階段工作力 =2P 工作狀況 ( 2 ) -- 開閥初始階段工作力 =2P
工作狀況( 4 ) -- 關閥終了階段工作力 =P 工作狀況( 3 ) -- 關閥初始階段工作力 =P
雙缸式氣動帶手動 楔 式閘閥系統控制原理圖
本閥可以 配用電的或氣的 回訊器 ,用以發送閥門開關狀態信息。因此,使用 本閥可以 實現遠距離控制,集中控制和自動控制。
△耐腐防蝕的氣缸 本閥的 氣缸選用于無縫鋼管制造,內表面鍍以耐腐性硬鉻,并經拋光處理,具有 磨擦力 小、不易銹蝕、高硬度、壽命長等優點。
△氣缸中的密封圈 采用丁晴橡膠 ○形密封圈,密封性能可靠,維修時更換方便。
四、性能規范
1 、閥體性能
| 型號 | 公稱壓力 PN( MPa ) | 閥體試驗壓力 | 工作溫度(℃) | ||||||||
| PN( MPa ) | 120 | 200 | 225 | 250 | 300 | 350 | 400 | 425 | |||
| 強度試驗 | 密封試驗 | 工作壓力 P( MPa ) | |||||||||
| Z6S41T-10 | 1.6 | 2.4 | 1.6 | - | 1.6 | - | 1.5 | 1.3 | 1.2 | 1 | 0.9 |
| Z6S41H-25 | 2.5 | 3.8 | 2.5 | - | 2.5 | - | 2.3 | 2 | 1.8 | 1.6 | 1.4 |
| Z6S41H-40 | 4 | 6 | 4 | - | 4 | - | 3.6 | 3.2 | 2.8 | 2.6 | 2.2 |
| Z6S41H-64 | 6.4 | 9.6 | 6.4 | - | 6.4 | - | 5.7 | 5.2 | 4.6 | 3.8 | 3.6 |
2 、氣缸性能
| 型號 | 公稱壓力 | 氣缸密封試驗壓力 | 氣缸工作壓力 |
| PN( MPa ) | PN( MPa ) | PN( MPa ) | |
| Z6S41T-10 | 0.6 | 0.6 | 0.4 ~ 0.6 |
| Z6S41H-25 | |||
| Z6S41H-40 | |||
| Z6S41H-64 |
3 、耗氣量
[ 凈化壓縮空氣壓力:0.4MPa(表)] 閘閥的氣缸單程耗氣量(以壓縮空氣體積計算)
| 氣缸直徑D(mm) | 50 | 80 | 100 | 150 | 200 | 250 | 300 | 350 | 400 |
| 耗氣量(m) | 0.0023 | 0.0029 | 0.0033 | 0.0084 | 0.0169 | 0.0198 | 0.032 | 0.0636 | 0.0707 |
1、本閥主要由閥體、閥蓋、閘板、閥桿、密封圈、雙層氣缸及其活塞、活塞桿、隔板連同緩沖機構、手動機構、氣動-手動轉換裝置和閥蓋填料裝置等部分組成。
2、上活塞行至行程上端可頂上上回訊器,使之發訊;下活塞行之行程下端可頂下下回訊器,使之發訊,以作為閘閥開閉信息在中央操作室的模擬儀表盤上進行顯示。
3、手輪上部的外伸指示桿的上升和下降,標志著該閥的閘板是處于提升狀態還是下降狀態。閘閥關閉時,外伸指示桿位于最低位置;反之,閘閥全開時,外伸指示桿位于最高位置。此即為本閥啟閉狀態的現場指示。
4、氣缸蓋上部裝有氣動-手動轉換裝置。將轉換手柄順時針方向提轉到“氣動定位孔定位,閘閥處于氣動操作狀態;反之,將轉換手柄逆時針方向提轉到“手動”定于孔處定位,閘閥即可進行手動操作。帶錐齒輪的手柄轉換方向相反。手動操作閘閥時,手輪旋向和普通手動閥一樣,即順時針轉為關,逆時針轉為開。帶錐齒輪轉動的相反。
主要零件材質
| 閥體、閥蓋、閥板 | 鑄鋼 |
| 閥體及閘板的密封面 | 合金鋼 |
| 閥桿 | 不銹鋼 |
| 雙頭螺栓 | 35 號鋼 |
| 氣缸 | 20 號無縫鋼管 |
| 活塞 | 鑄鋁合金 |
| 手動螺母 | 青銅 |
| 密封圈 | 石棉橡膠板 |
| 纏繞式金屬石墨墊片 | |
| 活塞環及軸環 | 耐油橡膠○型圈 |
| 填料函 | 石墨石棉繩 |
PN1.6MPa 主要連接尺寸和外形尺寸
| DN | D | D1 | D2 | b | f | L | H | Ds | D0 | Z-d | 氣源接頭 | 重量 Kg |
| 50 | 160 | 125 | 100 | 16 | 3 | 250 | 865 | 160 | 250 | 4月18日 | M12 × 1.25 | 42 |
| 80 | 195 | 160 | 135 | 20 | 3 | 280 | 1100 | 160 | 300 | 8月18日 | 54 | |
| 100 | 215 | 180 | 155 | 20 | 3 | 300 | 1200 | 160 | 350 | 8月18日 | 100 | |
| 150 | 280 | 240 | 210 | 24 | 3 | 350 | 1380 | 219 | 400 | 8月23日 | 135 | |
| 200 | 335 | 295 | 265 | 26 | 3 | 400 | 1580 | 273 | 400 | 12月23日 | 270 | |
| 250 | 405 | 355 | 320 | 30 | 3 | 450 | 1710 | 273 | 400 | 12月25日 | M20 × 1.5 | 350 |
| 300 | 460 | 410 | 375 | 30 | 4 | 500 | 1880 | 325 | 500 | 12月25日 | 480 | |
| 350 | 520 | 470 | 435 | 34 | 4 | 550 | 2180 | 426 | 500 | 16-25 | 570 | |
| 400 | 580 | 525 | 485 | 36 | 4 | 600 | 2325 | 459 | 550 | 16-30 | 900 | |
| 450 | 640 | 585 | 545 | 40 | 4 | 650 | 2570 | 500 | 550 | 20-30 | 1560 | |
| 500 | 705 | 650 | 608 | 44 | 4 | 700 | 2800 | 600 | 600 | 20-34 | M24 × 1.5 | 1820 |
| 600 | 840 | 770 | 718 | 48 | 5 | 800 | 3010 | 600 | 600 | 20-41 | M27 × 1.5 | 2850 |
PN2.5MPa 主要連接尺寸和外形尺寸
| DN | D | D1 | D2 | b | f | L | H | Ds | D0 | Z-d | 氣源接頭 | 重量 Kg |
| 50 | 160 | 125 | 100 | 20 | 3 | 250 | 865 | 160 | 250 | 4月18日 | M12 × 1.25 | 42 |
| 80 | 195 | 160 | 135 | 22 | 3 | 280 | 1100 | 160 | 300 | 8月18日 | 54 | |
| 100 | 230 | 190 | 160 | 24 | 3 | 300 | 1200 | 160 | 350 | 8月23日 | 105 | |
| 150 | 300 | 250 | 218 | 30 | 3 | 350 | 1380 | 219 | 400 | 8月25日 | 190 | |
| 200 | 360 | 310 | 278 | 34 | 3 | 400 | 1580 | 273 | 400 | 12月25日 | 280 | |
| 250 | 425 | 370 | 332 | 36 | 3 | 450 | 1710 | 273 | 400 | 12月30日 | M20 × 1.5 | 405 |
| 300 | 485 | 430 | 390 | 40 | 4 | 500 | 1880 | 325 | 500 | 16-30 | 535 | |
| 350 | 550 | 490 | 448 | 44 | 4 | 550 | 2180 | 426 | 500 | 16-34 | 720 | |
| 400 | 610 | 550 | 405 | 48 | 4 | 600 | 2325 | 459 | 550 | 16-34 | 1200 | |
| 450 | 660 | 600 | 555 | 50 | 4 | 650 | 2570 | 500 | 550 | 20-34 | 1910 | |
| 500 | 730 | 660 | 610 | 52 | 4 | 700 | 2800 | 650 | 600 | 20-41 | M24 × 1.5 | 2250 |
| 600 | 840 | 770 | 718 | 56 | 5 | 800 | 3010 | 730 | 600 | 20-41 | M27 × 1.5 | 3100 |
PN4.0MPa 主要連接尺寸和外形尺寸
| DN | D | D1 | D2 | b | f | L | H | Ds | D0 | Z-d | 氣源接頭 | 重量Kg |
| 50 | 160 | 125 | 100 | 20 | 3 | 250 | 890 | 160 | 300 | 4月18日 | M12×1.25 | 62 |
| 80 | 195 | 160 | 135 | 22 | 3 | 310 | 1150 | 219 | 350 | 8月18日 | 130 | |
| 100 | 230 | 190 | 160 | 24 | 3 | 350 | 1300 | 273 | 400 | 8月23日 | 155 | |
| 150 | 300 | 250 | 218 | 30 | 3 | 450 | 1450 | 273 | 400 | 8月25日 | 240 | |
| 200 | 375 | 320 | 282 | 38 | 3 | 550 | 1660 | 325 | 500 | 12月30日 | M20 × 1.5 | 280 |
| 250 | 445 | 385 | 345 | 42 | 3 | 650 | 1860 | 325 | 500 | 12-34 | 305 | |
| 300 | 510 | 450 | 408 | 46 | 4 | 750 | 2010 | 426 | 500 | 16-34 | 580 | |
| 350 | 570 | 510 | 465 | 52 | 4 | 850 | 2350 | 459 | 550 | 16-34 | 770 | |
| 400 | 655 | 585 | 535 | 58 | 4 | 950 | 2530 | 600 | 550 | 16-41 | 1260 | |
| 450 | 680 | 610 | 560 | 60 | 4 | 1050 | 2780 | 650 | 600 | 20-41 | M24 × 1.5 | 1680 |
| 500 | 755 | 670 | 612 | 62 | 4 | 1150 | 3100 | 730 | 600 | 20-48 | M27 × 1.5 | 2150 |
PN6.4MPa 主要連接尺寸和外形尺寸
| DN | D | D1 | D2 | b | f | L | H | Ds | D0 | Z-d | 氣源接頭 | 重量 Kg |
| 50 | 175 | 135 | 105 | 26 | 3 | 250 | 865 | 160 | 250 | 4月23日 | M12 × 1.25 | 85 |
| 80 | 210 | 170 | 140 | 30 | 3 | 310 | 1170 | 300 | 300 | 8月23日 | 125 | |
| 100 | 250 | 200 | 168 | 32 | 3 | 350 | 1280 | 350 | 350 | 8月25日 | 178 | |
| 150 | 340 | 280 | 240 | 38 | 3 | 450 | 1470 | 400 | 400 | 8-34 | 305 | |
| 200 | 405 | 345 | 300 | 44 | 3 | 550 | 1650 | 400 | 400 | 12-34 | M20 × 1.5 | 410 |
| 250 | 470 | 400 | 350 | 48 | 3 | 650 | 1810 | 400 | 400 | 12-41 | 690 | |
| 300 | 530 | 460 | 412 | 54 | 4 | 750 | 1960 | 500 | 500 | 16-41 | 770 | |
| 350 | 595 | 525 | 475 | 60 | 4 | 850 | 2240 | 500 | 500 | 16-41 | 980 | |
| 400 | 670 | 585 | 525 | 66 | 4 | 930 | 2450 | 550 | 550 | 16-48 | M24 × 1.5 | 1970 |
六、安裝使用及維修保養注意事項
1 、閥在安裝前應仔細核對型號是否與使用要求符合。
2 、 本閥可 安裝在任何工作位置,但應考慮檢修和操作的方便。
3 、閥在安裝前應對閥體進行密封性試驗; 閥在 安裝前還應進行三次以上的空載啟閉試驗,氣動閘閥的閘板開關應靈活, 各種軸件不得 有卡阻現象。
4 、安裝過程中應清除孔內、密封面及接合面的污垢,檢查連接螺栓是否均勻擰緊。
5 、安裝完畢要進行密封試驗及 氣動和 手動操作試驗。同時檢查 回訊器 在閥門全開或全關狀態下能否正確發訊。
6 、 本閥在 使用中,要求將閘板全開全關,不允許將閘閥打開一部分作為調節流量的節流閥使用。否則,在介質流速的沖刷下使密封面損壞。
7 、閥在使用過程中,應定期( 18 個月)在氣缸內壁加注少量潤滑油。
8 、閥在使用期間,應視其動作頻繁程度進行定期檢查和維護。
9 、氣動 - 手動轉換裝置上的轉換手柄在手動的位置,絕對不允許進行氣動操作。
七、可能發生的故障和消除方法
| 可能發生的故障 | 發生故障的原因 | 消除辦法 |
| 填料滲漏 | 填料密封圈磨損 | 1 、壓緊填料密封圈 |
| 2 、更換密封圈 | ||
| 活塞往復失靈 | ○形圈磨損或活塞桿變形 | 1 、更換○形圈 |
| 2 、更換活塞桿 | ||
| 回訊器 失靈 | 回訊器 頂桿與活塞上下兩端點有差距或 回訊器 零件損件 | 1 、調整 回訊器 頂桿 |
| 2 、更換 回訊器 |
八、訂貨須知
1 、訂貨時請注明閘閥的型號、公稱壓力、公稱通徑、流通介質、實際工作壓力、使用溫度。如屬改裝閘閥,需訂購包括支架在內的氣缸體時,還需提供閥體大蓋與支架連接部位的尺寸,氣缸與閥體、閘板裝接的相對位置尺寸等有關資料。
2 、訂貨時還請注意訂購 何種回訊器 ,或提供 回訊器 接頭螺紋尺寸。
3 、用戶有特殊要求,或選用特大型氣動閘閥 (DN600 以上 ) 時,本公司可為專業設計制造。





